Секция "Машины для уборки хлопка и урожая других культур"


Основные научные направления:

• разработка современных ресурсосберегающих технологий и технических средств для механизации подготовки полей и сбора раскрытого хлопка для различных зон хлопкосеяния;

• проведение НИР по обоснованию схем и параметров узлов и механизмов для совершенствования выпускаемых вертикально-шпиндельных хлопкоуборочных машин, направленных на повышение полноты сбора и качественных показателей хлопка, а также производительности и стабильности работы хлопкоуборочных агрегатов;

• осуществление практической помощи хлопкосеющим хозяйствам при подготовке хлопкоуборочных машин к сезону уборки;

• проведение семинаров по подготовке квалифицированных операторов машин;

• постоянный мониторинг за работой хлопкоуборочных машин по соблюдению необходимых режимов работы на полях, за соблюдением технологии уборки с обеспечением необходимых количественных и качественных показателей собираемого хлопка, оптимальной организации всего уборочного процесса;

• сдача наукоёмких разработок заказчикам;

• проведение авторского надзора за внедрением в производство разработанных научных работ.


Состав сотрудников секции

  • Усаров Садулла – руководитель лаборатории, к.т.н., с.н.с;
  • Ахмаджанов Бахтияр Турдалиевич – техник;
  • Адилжанова Руза Абдулхамитовна – техник-лаборант.


Деятельность лаборатории в настоящее время

В период с 2015 по 2021 годы сотрудниками лаборатории выполнялись НИР по следующим проектам:

1. По инновационному проекту КХИ-2-002-2015 “Тик шпинделли пахта териш машиналари учун шпинделларни ювиш ва тозалаш тизимининг макет нусхасини тайёрлаш ва ишлаб чиқаришга тадбиқ этиш” (Изготовление макетного образца системы обмыва и очистки шпинделей для вертикально-шпиндельных хлопкоуборочных машин и внедрение в производство):

Разработанная система для обмыва и очистки шпинделей, предусматривающая использование пневматической системы трактора, без применения дополнительного водяного насоса и его привода, позволяет сохранять стабильность полноты сбора хлопкоуборочной машины в течение всей смены работы.

Оборудование хлопкоуборочной машины разработанной системой обмыва и очистки шпинделей позволяет уменьшить дополнительные затраты сменного времени на обмыв и очистку шпинделей и, тем самым, повысить производительность хлопкоуборочной машины.

Эффективность предлагаемой технологической схемы работы хлопкоуборочной машины от изменения количества и качества собранного хлопка, составляет 80,8 тыс. сум/hа, общий экономический эффект от использования опытной машины составляет около 159,4 тыс.сум/hа.

2. По инновационному проекту КХИ-2-003-2016 «Тик шпинделли пахта териш аппарати учун пахтани ерга тўкилишини камайтирувчи қурилманинг тажриба нусхасини тайёрлаш ва синаш» (Изготовление и испытание опытного образца устройства для снижения потерь хлопка на землю к вертикально-шпиндельному хлопкоуборочному аппарату):

Уменьшение потерь хлопка на землю за счёт сбора проносов в процессе работы хлопкоуборочных машин обеспечено путем применения устройства, расположенного на передних шпиндельных барабанах, без усложнения традиционной технологической схемы работы хлопкоуборочного аппарата и сохранения неизменными всех его конструктивных и кинематических параметров.

Оборудование хлопкоуборочного аппарата разработанным устройством для сбора проносов позволило повысить полноту сбора хлопка на однократном сборе в среднем на 2,85%, на двукратном – на 3,83%, за счёт лучшей обработки кустов хлопчатника и снижения потерь хлопка на землю.

3. По прикладному проекту КА-3-002-2016 “Замонавий пахта териш машиналари билан пахта ҳосилини йиғиб олишнинг юқори самарадор технологиясини ишлаб чиқиш” (Разработка высокоэффективной технологии уборки урожая хлопка-сырца современными хлопкоуборочными машинами):

Установлено, что одним из наиболее эффективным способом повышения производительности существующих хлопкоуборочных машин является сбор хлопка-сырца при наибольшем раскрытии коробочек. В этом случае дополнительные затраты на уборку значительно уменьшаются и можно существенно снизить себестоимость собираемого хлопка. При этом оптимальные сроки дефолиации хлопчатника начала машинной уборки должны определяться на основе комплексных исследований свойств хлопкового волокна и пряжи. Однократный машинный сбор раскрытого урожая хлопка позволяет получить наибольшую денежную выручку в сравнении с остальными рассматриваемыми технологиями уборки урожая хлопка. Это связано с увеличением количества собираемого хлопка с повышением раскрытия коробочек.

Увеличение раскрытия коробочек позволяет повысить полноту сбора хлопкоуборочной машины при раскрытии 56% и 75% на первом сборе с 73,7% до 81,7%, а при раскрытии 88,0% - до 88,58%.

4. По инновационному проекту И-ҚХ-2017-5-2 «Вертикал шпинделли пахта териш машинаси ишининг сифати ва барқарорлигини оширувчи қурилма ва мосламаларнинг тажриба нусҳаларини тайёрлаш ва синаш» (Изготовление и испытание опытных образцов устройств и приспособлений, повышающих качество и стабильность работы вертикально-шпиндельной хлопкоуборочной машины):

В процессе проведения НИР установлено, что за счёт дополнительных направляющих элементов на заходных щитках вертикально-шпиндельного хлопкоуборочного аппарата повышается значение полноты сбора на 1,7…2,0% по сравнению с контролем - серийным аппаратом; полнота сбора хлопкоуборочной машины, оснащённой устройством для сбора проносов хлопка превышает этот показатель серийной машины на однократном сборе на 2,33%, при этом потери на землю снижаются на 1,57%, на двукратном сборе полнота сбора, за счёт сбора проносов, повышается на 2,21% в основном за счёт уменьшения потерь хлопка на землю; после прохода машины с копирующим устройством на кустах остаётся 6,15% хлопка, а после прохода машины без копировки профиля гребня рядка (контроль) на кустах остаётся 7,63% хлопка, что на 1,48% больше чем у машины с аппаратом, снабженным копирующим устройством, при этом общая полнота сбора машины повысилась на 2,68%.

5. По прикладному проекту МВ-Атех-2018-92+БВ-Атех-2018-13 (2018-2020 годы) «Юқори техник кўрсаткичли 60 см қатор оралиғи учун тўрт қаторли ярим тиркамали вертикал шпинделли пахта териш машинасини ишлаб чиқиш (бир терим учун мослашган)» (Разработка четырехрядной полуприцепной вертикально-шпиндельной хлопкоуборочной машины с повышенными техническими показателями для междурядий 60 см (разовый сбор хлопка)), в котором головным исполнителем является СКБ-Трактор (ООО “Конструкторско-технологический центр сельскохозяйственного машиностроения”) и соисполнителями: НИИМСХ, ИМиСС АН РУз, ТашГТУ, СП ООО Агрихим, ЦИТТ.

Название подпроекта, который выполняется нашей лабораторией: «Усовершенствование технологии и уборочного аппарата для разовой уборки хлопка при повышенном раскрытии коробочек хлопчатника».

Подпроект направлен на решение актуального вопроса сельского хозяйства – прикладного исследования по завершению в кратчайшие сроки уборки урожая раскрытого хлопка, уменьшение потерь хлопка на землю, т.е. на повышение уровня механизации уборки урожая хлопка-сырца.

Применение усовершенствованной технологии уборки хлопка позволит сократить период уборки на 12-15 дней и раньше освободить поля от урожая хлопка. Повышение годовой загрузки и выработки машины, позволят ощутимо снизить эксплуатационные издержки уборки хлопка, что дает в сфере эксплуатации значительный экономический эффект. Разработка модернизированного вертикально-шпиндельного хлопкоуборочного аппарата позволит повысить его качественные показатели (полнота сбора на 2,5-3,0%), производительность (на 10-12%) и эксплуатационно-технологические показатели.


Монографии, книги, брошюры, пособия, рекомендации

                         


Изобретения и патенты

                     


Устройства и приспособления к хлопкоуборочной машине,
разработанные в лаборатории


1. Устройство для снижения потерь хлопка к вертикально-шпиндельному
хлопкоуборочному аппарату

(Патент на полезную модель № FAP 00976)

Технологическая схема усовершенствованного уборочного аппарата

Схема установки приемной камеры с боковым окном на уборочный аппарат

Приемная камера с боковым окном

Уборочный аппарат с приемной камерой

Общий вид хлопкоуборочной машины

Рядки после обработки хлопкоуборочной машиной


Основные параметры

- Ширина бокового окна: 112 мм.
- Высота бокового окна: 117 мм.
- Угол установки наклонного щитка: 45°.

Устройство для уменьшения потерь хлопка на землю на передних шпиндельных барабанах снижает потери хлопка на землю на 1,5-2,0%, что повышает полноту сбора уборочного аппарата.

Рекомендуется оснащение этим устройством серийно выпускаемые хлопкоуборочные машины МХ-1,8.


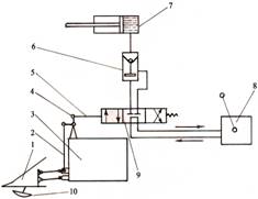
2. Система обмыва и очистки шпинделей для вертикально-шпиндельной
хлопкоуборочной машины

(Патент на полезную модель № FAP 00993)

Хлопкоуборочная машина

Основные узлы системы обмыва и очистки

Схема системы обмыва и очистки шпинделей вертикально-шпиндельной хлопкоуборочной машины:
1–водяной бак; 2–компрессор; 3–регулятор давления; 4–ресивер; 5–сливной кран; 6–герметический бак; 7–кран для заполнения; 8–контрольный кран; 9,14–манометр; 10–контрольный клапан; 11–сливная пробка; 12–запорный кран; 13–распределитель; 15–распылитель; 16–уборочный аппарат

Обмыв задних шпиндельных барабанов

Обмыв передних шпиндельных барабанов

Основная техническая характеристика

Тип: монтируемая на ХУМ.
Емкость основного бака: 140 л.
Емкость герметического бака: 20 л.
Количество распылителей: 4 дона.
Давление в системе: 1,0-1,5 кг/см2.
Расход воды на один распылитель: 3,5-4,0 л.
Продолжительность операции: 3 мин.

Экономическая эффективность

Снижение дополнительных затрат сменного времени на обмыв и очистку шпинделей позволяет повысить производительность хлопкоуборочной машины на 14,8% га, снизить затраты труда на 12,9%. Экономический эффект составляет 87,2 тыс.сум/га.


3. Копирующее устройство гребней грядок для
хлопкоуборочной машины

Технологическая схема копирующего устройства:
1–кустоподъемник; 2,5–система тяг; 3–уборочный аппарат; 4–рычажный вал; 6–гидрозамок; 7–гидроцилиндр; 8–гидрораспределитель трактора; 9–гидрораспределитель; 10–копирующие диски

Схема копирующего устройства хлопкоуборочной машины:
1– копирующие диски; 2–кустоподъемник; 3–система рычагов и тяг; 4–гидроцилиндр; 5–подвеска аппарата; 6–гидрозамок; 7–золотник; 8–обратный клапан; 9–аппарат

Кустоподъемник с копирующим диском:
1–кожух; 2–кронштейн; 3–верхний шатун; 4–нижний шатун; 5–ось; 6–шплинт; 7–копирующий диск

Схема расположения копирующих дисков в междурядьях

Уборочный аппарат с копирующим устройством

Убранные рядки хлопкоуборочной машиной с копирующим устройством

Основная техническая характеристика

Объем масла протекающего через гидросистему: 45 л/мин.
Ширина перекрытия потока масла в гидросистеме: 4 мм.
Зона чувствительности в гидросистеме: 30 мм.

Эффективность

За счет улучшения процесса обработки хлопка нижних ярусов из-за качественного копирования гребня грядок автоматическим копирующим устройством обеспечивается повышение агротехнических показателей хлопкоуборочной машины на 2,0-2,5%. Создаются комфортные рабочие условия для механика-водителя.


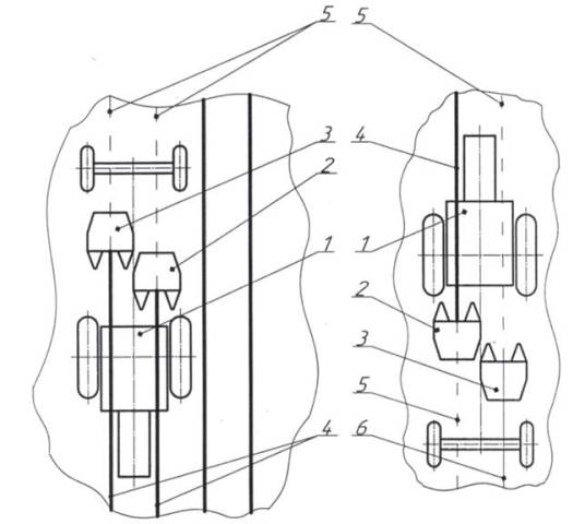
4. Направляющие элементы заходных щитков
хлопкоуборочного аппарата

Направляющие элементы заходных щитков:
1–направляющий элемент;
2–планка для крепления

Расположение направляющего на заходном щитке:
1–кустоподъёмник; 2–заходный щиток; 3–направляющий; 4–шпиндельный барабан; 5–шпиндель; 6–подъемники

Общий вид уборочного аппарата:
1–направляющий; 2–заходный щиток

Направляющие установленные на заходном щитке

Основные параметры

Угол установки: 10-15°.
Шаг расстановки: 90 мм.
Форма элемента: пирамидальная.

Экономическая эффективность

Пассивные кустонаправители улучшают формовку кустов и направления их в рабочую щель, в результате кусты лучше обрабатываются уборочным аппаратом и повышается полнота сбора хлопка на 1,5-1,8%.

Рекомендуется использования их на хлопкоуборочной машине МХ-1,8.


5. Хлопкоуборочная машина МХ-2,4 для разового сбора хлопка

Машина МХ-2,4 на полевых испытаниях

Опытный образец хлопкоуборочной машины МХ-2,4

Схема одноразовой уборки хлопка:
а – начальная уборка хлопка;
б – основная уборка хлопка

Схема движения 4-х рядной хлопкоуборочной машины на одноразовом сборе хлопка

Режимы работы уборочного аппарата (МХ-2,4)

Начальный проход:
Частота вращения шпиндельных барабанов, nб, мин-1 ........... 112
Скорость движения машины, Vм, м/с ....................................... 1,05
Опережение первой пары барабанов, К1 .................................. 1,63
Опережение второй пары барабанов, К2 ................................... 1,86
Рабочая щель между передними парами барабанов, В1, мм ...... 39
Рабочая щель между задними парами барабанов В2, мм ....... 30,28
Количество шпинделей на барабанах ........................................... 14

Основной проход:
Частота вращения шпиндельных барабанов, nб, мин-1 ........... 126
Скорость движения машины, Vм, м/с ...................................... 1,39
Опережение первой пары барабанов, К1 ................................. 1,39

Экономическая эффективность

Решается проблема уборки урожая хлопка с междурядий 60 см, осуществляется уборка хлопка за один проход машины, уборочный период сокращается на 12-15 дней, повышается полнота сбора машины на 2,0-2,5 %, увеличивается производительность работы на 15%.
Экономический эффект составит 600000 сум/га.
Рекомендуется к серийному выпуску.


Опубликованные в 2017-2021 г.г. работы

1. Ташболтаев М.Т., Усаров С. А.Н.Михайловский. Пахта далаларини машина теримига тайёрлаш ва теримни сифатли ўтказишга доир тавсиялар. – Тошкент, ТҚХТЗ, 2017. – 60 б.

2. Михайловский А.Н., Усаров С. О работе хлопкоуборочного аппарата с 14-ти шпиндельными барабанами. “Фан-техника, таьлим ва технологиялар: долзарб муаммолар ва ривожланиш тенденциялари” мавзусидаги илмий-техник анжумани материаллари тўплами (2-қисм). –Джизак, 2017. – Б. 207-210.

3. А.Н.Михайловский, С.Усаров. О возможности совершенствования хлопкоуборочных машин. “Фан-техника, таьлим ва технологиялар: долзарб муаммолар” мавзусидаги илмий-техник анжумани материаллари тўплами (2-қисм). – Джизак, 2017. – Б. 203-206.

4. С.Усаров, А.Н.Михайловский. Результаты и направления НИР по совершенствованию хлопкоуборочных машин. “Юқори самарали қишлоқ хўжалик машиналарини яратиш ва улардан фойдаланиш даражасини ошириш” республика илмий-амалий конференцияси илмий мақолалар тўплами. – Гулбаҳор, 2017. – Б. 205-209.

5. С.Усаров, А.Н.Михайловский. Эффективность работы хлопкоуборочного аппарата с гидрокопиром. “Юқори самарали қишлоқ хўжалик машиналарини яратиш ва улардан фойдаланиш даражасини ошириш” республика илмий-амалий конференцияси илмий мақолалар тўплами. – Гулбаҳор, 2017. – Б. 213-217.

6. С.Усаров, А.Н.Михайловский. Тик шпинделли пахта териш аппаратини такомиллаштириш // Агро илм, 2017. – № 3 – Б. 102-103.

7. С.Усаров, А.Н.Михайловский. Тик шпиндели пахта териш аппарати учун пахтани ерга тўкилишини камайтирувчи қурилма // Инновацион ғоялар, технологиялар ва лойиҳалар X Республика ярмаркаси банери. – Тошкент, 2017.

8. С.Усаров, А.Н.Михайловский. Тик шпиндели пахта териш машинаси учун пахтани ерга тўкилишини камайтирувчи қурилма // Инновацион ғоялар, технологиялар ва лойихалар 10 республика ярмаркаси . Иновацион ишланма буклети. –Тошкент, 2017. –5 б.

9. Михайловский А.Н. Усаров С. “Система обмыва и очистки шпинделей вертикально-шпиндельной хлопкоуборочной машины”. Патент № FАР 01175, Бюл. № 3, 31.03.2017 г.

10. А.Н.Михайловский, С.Усаров. Об обеспечении стабильности работы вертикально-шпиндельных хлопкоуборочных машин. «Научно-практические пути повышения экологической устойчивости и социально-экономическое обеспечение сельскохозяйственного производства». Международная научно-практическая конференция, посвящённая году экологии в России. Прикаспийский НИИ аридного земледелия. – Соленое Займище, - 2017, С. 1208-1211.

11. Михайловский А.Н., Усаров С. «О стабильности работы вертикально-шпиндельных хлопкоуборочных машин». Международная научно-практическая конференция «Актуальные вопросы в науке и практике», г. Самара., 2018, С. 60-66.

12. Усаров С., Михайловский А.Н. «Совершенствование технологии машинного сбора урожая хлопчатника». Международная научно-практическая конференция «Перспективы развития науки в современном мире», г. Уфа.,- 2018, С. 48-55.

13. Усаров С., Михайловский А.Н. «О технологиях уборки урожая хлопчатника». Международная научно-практическая конференция. «Итоги и перспективы развития агропромышленного комплекса». Прикаспийский НИИ аридного земледелия. – Соленое Займище, - 2018, С. 667-670.

14. Усаров С., Михайловский А.Н. «Некоторые особенности машинной уборки хлопка». Международная научно-практическая конференция. «Итоги и перспективы развития агропромышленного комплекса». Прикаспийский НИИ аридного земледелия. – Соленое Займище, - 2018, С. 660-666.

15. Михайловский А.Н., Усаров С. «Эффективность работы системы копирования рельефа грядок при уборке урожая хлопка». Международная научно-практическая конференция «Инновации в науке и практике», г. Барнаул, 2018. Часть 1. С. 203-209.

16. Усаров С., Михайловский А.Н. “Некоторые результаты усовершенствования технологии уборки урожая хлопка”. “Замонавий тадқиқотлар, инновациялар, техника ва технологияларнинг долзарб муаммолари ва ривожланиш тенденциялари” мавзусидаги Республика миқиёсидаги илмий-техник анжумани материаллари тўплами. – 2-қисм. Джизак, 2018. – Б. 43-46.

17. Ташболтаев М.Т., Усаров С., Михайловский А.Н. “Хлопкоуборочный аппарат”. Патент № FАР 01350, Бюл. № 1, 2019 г.

18. Усаров С., Михайловский А.Н. «К обоснованию некоторых параметров 4-х рядной хлопкоуборочной машины». Международная научно-практическая конференция «Инновации в науке и практике». – Барнаул. – Часть 1, 21.03.2019. – С. 93-99.

19. Ташболтаев М.Т., Усаров С., Михайловский А.Н. “Бункер хлопкоуборочной машины”. Патент № FАР 01383, Бюл. № 6, 2019 г.

20. Усаров С., Михайловский А.Н. «К вопросу разработки многорядных машин». “Замонавий тадқиқотлар, инновациялар, техника ва технологияларнинг долзарб муаммолари ва ривожланиш тенденциялари” мавзусидаги Республика илмий-техник анжуман. – Джизак, 4-5 апрел 2019. – Б. 313-315.

21. Михайловский А.Н., Усаров С. 14-ти шпиндельный барабан-резерв повышения полноты сбора хлопка. Международная научно-практическая конференция «Перспективы развития науки в современном мире», 05.04.2019, Уфа, – Часть 1. – С. 56-61.

22. Усаров С., Михайловский А.Н. О рядности хлопкоуборочных машин. «Таълим сифатини оширишда инновацион таълим технологияларининг ўрни: муаммо ва ечимлар» мавзусидаги Республика миқиёсидаги илмий-амалий конференция материаллари тўплами. – Наманган, 29-30 март 2019. – Б. 181-183.

23. Усаров С., Михайловский А.Н. К созданию 4-х рядной хлопкоуборочной машины для разового сбора хлопка. Материалы 1-й международной научно-практической конференции «Инновационный потенциал развития науки в современном мире: достижения и инновации», 22.04.2019, Уфа, – С. 34-39.

24. Усаров С., Михайловский А.Н. «Об эффективности различных технологий уборки урожая хлопка». Международная научно-практическая конференция. «Итоги и перспективы развития агропромышленного комплекса». Прикаспийский НИИ аридного земледелия. – Соленое Займище, 2019. – С. 542-545.

25. Усаров С., Михайловский А.Н. «Усовершенствованная технология механизированной уборки урожая хлопка». Международная научно-практическая конференция «Интеграция науки и практики в современном мире», г. Уфа, 16.09.2019. – Часть 1. – С. 130-136.

26. Усаров С., Михайловский А.Н. «Полнота сбора и качество хлопка-сырца» // Международная научно-практическая конференция «Перспективы развития науки в современном мире». – Уфа, 20.03.2020. – С. 18-23.

27. Ташболтаев М., Михайловский А.Н., Усаров С. «Устройство для ввода кустов хлопчатника в вертикально-шпиндельный хлопкоуборочный аппарат» // Патент № 01498 от 29.05.2020 г.

28. Усаров С., Михайловский А.Н. «К созданию 4-х рядной хлопкоуборочной машины» // Международная научно-техническая конференция «Проблемы и перспективы инновационной техники и технологий в аграрно-пищевом секторе». – Ташкент, ТашГТУ 24-25 апреля 2020 – С. 145-146.

29. Ташболтаев М., Михайловский А.Н., Усаров С. «Хлопкоуборочный аппарат» // Заявка на полезную модель № FАР 2020 0106, подана в Агентство по электронной почте (письмо № 01/17 – 104 от 22.05.2020 г.).

30. Усаров С., Михайловский А.Н. «О создании и применении 4-х рядных вертикально-шпиндельных хлопкоуборочных машин» // Международная научно-практическая конференция. «Итоги и перспективы развития агропромышленного комплекса». Прикаспийский НИИ аридного земледелия. – Соленое Займище, 21-22 мая 2020. – С. 681-683.

31. Матчанов Р.Д. и др. «Вертикально-шпиндельный хлопкоуборочный аппарат». Заявка на изобретение № IАР 2020 0254 от 17.06.2020 г.

32. Усаров С., Михайловский А.Н. «Об организации работы хлопкоуборочных машин для разового сбора хлопка» // Республика илмий-амалий конференцияси. «Ресурстежамкор ва фермербоп қишлоқ хужалик машиналарини яратиш ва улардан фойдаланиш самарадорлигини ошириш».НИИМСХ. – Гулбахор, 14-15 август 2020. – С. 242-247.

33. Усаров С., Михайловский А.Н. «Влияние ширины рабочей щели уборочного аппарата на полноту сбора хлопка» // Республика илмий-амалий конференцияси. «Ресурстежамкор ва фермербоп қишлоқ хужалик машиналарини яратиш ва улардан фойдаланиш самарадорлигини ошириш». НИИМСХ. – Гулбахор, 14-15 август 2020. – С. 248-253.

34. Ташболтаев М., Михайловский А.Н., Усаров С. «Хлопкоуборочный аппарат» // Положительное решение по заявке на полезную модель № FАР 2019 0172 от 24.07.2020 г.

35. Усаров С., Михайловский А.Н. «О пневмотранспортной системе хлопкоуборочных машин» // Международная научно-практическая конференция «Цели и пути устойчивого экономического развития». – Уфа, 18.09.2020. – С. 6-10.

36. Ризаев А.А., Усаров С. и др. «Влияние направления вращения шпинделя на кинематику рабочей камеры аппарата» // Проблемы механики. – Ташкент, 2020. – № 1-2. – С. 96-99.

37. Ризаев А.А., Усаров С. и др. «Разработка 4-х рядной хлопкоуборочной машины для разового сбора хлопка» // Международная научно-техническая конференция «Проблемы механики». – Самарканд, 26-27 октябрь 2021.– С. …...

38. Усаров С., Михайловский А.Н. «Технология уборки хлопка-сырца вертикально-шпиндельной хлопкоуборочной машиной» // «Машиносозликда инновациялар, энергиятежамкор технологиялар ва ресурслардан фойдаланиш самарадорлигини ошириш» мавзусидаги Халқаро илмий-амалий конференция материаллари тўплами. – Наманган, 28-29 май 2021. – Б. .........

39. Усаров С., Михайловский А.Н. «Хлопкоуборочный аппарат» // Заявка НИИМСХ на полезную модель от 20.11.2021 г.


Из истории лаборатории

Коллектив ученых отдела механизации уборки хлопка 1978 г.
(в центре Д.М.Шполянский, доктор технических наук, профессор, заслуженный механизатор УзССР; слева – кандидаты технических наук Д.Н.Топалиди, С.Усаров, М.Аугамбаев, старший научный сотрудник Н.Шагиев; справа – кандидаты технических наук Р.И.Спеваков, Ю.И.Атаманов)

Сотрудники лаборатории 2006 г.
(справа налево А.Худайкулов – техник, Н.А.Куламетов – д.т.н., профессор, С.Усаров – к.т.н., Р.И.Спеваков – к.т.н., А.Н.Михайловский – к.т.н.)


Разработки лаборатории 1978-2020 г.г.

                 


Испытания хлопкоуборочной машины МХ-1,8 на полигоне УзГЦИТТ

           


Лабораторно-полевая установка ХНП-1,8 при проведении агротехнических опытов

           


Хлопкоуборочная машина МХ-2,4 для междурядий 60 см

           


Лабораторные опыты

                 


Сотрудничество лаборатории

В настоящее время лаборатория проводит научно-исследовательские работы совместно с АО «БМКБ-Агромаш», ООО «Янгиюль-Агромаш», Центром по сертификации и испытанию сельскохозяйственной техники и технологий (ЦИТТ), специальным конструкторским бюро «Трактор» (СКБ «Трактор») - ООО "КТЦСХМ", научно-техническим центром по проблемам отраслевого машиноведения (НИЦПОМ при ТГУ) - ИМИСС АН РУз.


Перспективные планы лаборатории

В дальнейшем работы, проводимые в лаборатории, будут направлены на решение задач связанных с повышением качества работы вертикально-шпиндельных хлопкоуборочных машин, увеличением их производительности, а также на разработку перспективных технологий уборки урожая хлопка-сырца, обеспечивающих сбор хлопка с минимальными потерями и с наименьшими затратами материальных средств.


Дата изменения информации: 07.01.2022